随着社会的快速发展,水文勘测技术也在逐步向自动化、智能化方向转变但目前还是有一些传统的老旧的基础设施得不到完善制约了水文勘测技术的发展也严重影响水文工作的正常进行以及水文行业的整体形象。作为基础设施,超声波雷达水位计安装支架就一直采用传统结构,即设备主架结构通常采用多根钢管焊接而成,只能满足设备安装的基本要求在运输安装、维护检修、稳定性等方面逐渐满足不了目前水文勘测的需要。因此,为了保证水文勘测快速、高效、便捷正常进行,亟需要对水位计的安装支架结构和安装进行深入研究和创新以促进水文勘测工作的全面推进和展开。
本文基于目前辽宁省水文勘测的研究现状,针对雷达式水位计安装支架问题进行了深入的研究发明一种高效、便捷、安全的雷达式水位计安装支架并对其具体结构进行了详细的概述和划分通过施工技术方案阐述了该水位计安装支架的具体施工对比分析了新型水位计安装支架和传统安装支架的优缺点客观的评价了新型水位计的优势建议及可行性为水文勘测水位计检测提供借鉴。
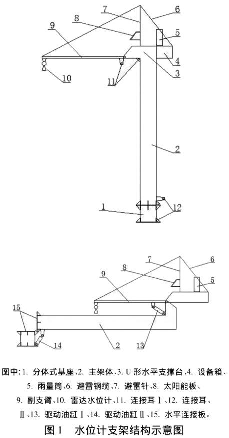
1、超声波雷达水位计支架结构
超声波雷达水位计安装支架主要结构包括:主架体分体式基座避雷针和雨量筒,水平连接板等组成。
1.1主体架
主架体呈方钢管状顶部设有U形水平支撑台U形水平支撑台上支撑有设备箱,设备箱前端和U形水平支撑台前端利用转轴铰接U形水平支撑台前端利用所述转轴另铰接有副支臂,副支臂前端下表面固定有雷达水位计副支臂后部和主架体侧面对应设有一对用于铰接驱动油缸Ⅰ的连接耳Ⅰ。U形水平支撑台后端与主架体侧面平齐,U形水平支撑台后端与设备箱利用螺栓连接固定。
1.2分体式基座
主架体底部设有分体式基座,主架体底部一侧与分体式基座铰接其他三面利用螺栓与分体式基座连接固定,分体式基座和主架体对应设有一对用于铰接驱动油缸Ⅱ的连接耳Ⅱ。主架体内设有倾角传感器主架体底部设有红外感应器。
1.3避雷针和雨量筒
超声波雷达水位计安装支架箱顶面设有避雷针和雨量筒避雷针**与副支臂前端之间、避雷针**与设备箱后端两侧之间分别连接有避雷钢缆避雷针下部安装有太阳能板。
1.4水平连接板
主架体底部和分体式基座顶部分别设有水平连接板主架体和分体式基座与水平连接板之间设有加强筋。具体结构如下图1所示。

2、支架安装施工技术方案
支架安装支架施工的技术方案如下所示
2.1运输组装
超声波雷达水位计安装支架,主架体由400mm长、宽的方钢制成,主架体呈方钢管状,可以通过机动车辆进行运输至待检测指定位置。
2.2安装分体式基座
分体式基座位于主架体的底部,与主架体底部一侧通过较接链接,并通过螺栓固定连接。分体式基座顶部通过加强筋连接水平连接板
2.3U形水平支撑台施工
U形水平支撑台是设备箱的主要支撑部位,安装过程中需要利用转轴铰接安装完成后保证其后端与主架体侧面平齐,后侧与设备箱螺栓固定。支撑台安装完成后需对副支臂进行安装用以固定雷达水位计保证后部和主架体側面对应设有一对用于铰接驱动油缸Ⅰ的连接耳Ⅰ。
2.4避雷针和雨量筒安装
避雷针和雨量筒位于设备箱顶面通过避雷钢缆进行连接;避雷针通过太阳能板提供能量进行工作安装时应保证太阳能板与避雷针之间保留一定角度方便避雷针角度调整。
2.5主体架安装
附属设施安装完成后将各设备进行就地组装安装主体架结构。安装完成后需进行调试,并打开底部的红外感应器。检查无误后即可进行监测工作。雷达水位计支架的安装及其工作状态如下图2所示。

3、与现有水位计安装支架优缺点比较
所研制的超声波雷达水位计支架的在施工、运行和管理维护方面较传统水位计之家具有较为明显的优势为推广超声波雷达水位计支架的**应用特对两类水位计支架的优缺点进行对比分析。具体如表1所示。图3为超声波雷达水位计支架检修和运输过程示意图。


4、结语
在数字化快速发展的当代,雷达水位计在水文勘察中的发挥这越来越重要的作用,并逐渐成为水文实时检测的主要手段。本文依托辽宁省水文勘察研究现状为研究背景,创造性地提出了一种超声波雷达水位计安装支架详细阐述了该水位计支架的具体结构构造及其技术方案新型安装支架较传统
水位计安装支架有明显的优势,能够实现水位计高效、便捷、安全施工,对辽宁省水文勘测具有重要的指导和借鉴意义。此外新型超声波雷达水位计安装支架,可替代传统水位计支架进行水位观测施工缩小了设备成本提高了社会效益与经济效益,具有较为**的推广前景。


